Смастерил микрофон
- Мой Повелитель
- Сообщения: 3817
- Зарегистрирован: Сб янв 20, 2007 10:32 pm
- Откуда: Ivanteevka city
- Контактная информация:
Re: Смастерил микрофон
А если сделать мик с 2мя капсюлями, на левом поставить конденсатор, для среза высоких, а на правом резистор, для среза басов. Имеетли идея право на жизнь? Или втыкать каждый капсюль в свою педаль, помню были темы, где показывалась запись и игра с 2 или 3 микрофонами.

Май мъюзик
Re: Смастерил микрофон
Ну, некоторые считают что и педерастия и педофилия имеют право на жизнь, но извращениями они от этого мнения быть не перестают.Virtue писал(а):А если сделать мик с 2мя капсюлями, на левом поставить конденсатор, для среза высоких, а на правом резистор, для среза басов. Имеетли идея право на жизнь?
Это вы меня ещё с плохой стороны не видели.
- Slava Chernov
- Сообщения: 11521
- Зарегистрирован: Чт авг 22, 2002 4:00 am
- Откуда: Москва
- Контактная информация:
Re: Смастерил микрофон
аааа!
"Не ту страну назвали Гондурасом!"
"Не ту страну назвали Гондурасом!"
- SergeyZZZ
- Сообщения: 970
- Зарегистрирован: Вт июн 12, 2007 4:36 pm
- Откуда: Даугавпилс, Латвия
- Контактная информация:
Re: Смастерил микрофон
Взял потроха из МД-47 1966 г.в, то бишь капсюль + трансформатор,
http://images.yandex.ru/search?p=2&ed=1 ... rpt=simage
и засунул все это в МД-44 1967 г.в. Получился хороший микрофон, лучший из моих гармошечных. Причем в своем галимом пластмасовом корпусе МД-47 звучал намного хуже, чем в корпусе МД-44.
http://images.yandex.ru/search?p=2&ed=1 ... rpt=simage
и засунул все это в МД-44 1967 г.в. Получился хороший микрофон, лучший из моих гармошечных. Причем в своем галимом пластмасовом корпусе МД-47 звучал намного хуже, чем в корпусе МД-44.
- Вложения
-
- Боевой арсенал
- DSC00398.JPG (843.03 КБ) 44516 просмотров
-
- подготовлен к покраске МД-44...
- DSC00397.JPG (858.8 КБ) 44516 просмотров
-
- капсюль с приклееным к жопе трансформатором.
- DSC00396.JPG (789.19 КБ) 44516 просмотров
Продается усилитель 500W, но с небольшой трещиной (от топора).
- MiracleFoxx
- Сообщения: 1337
- Зарегистрирован: Пн июн 15, 2009 2:57 am
- Откуда: Киев
- Контактная информация:
Re: Смастерил микрофон
ААА! Я хотел сделать так же, но 44-ый из-под носа перекупили(((
Re: Смастерил микрофон
У меня тоже МД-44. Жаловаться не на что. Только диаметр маловат, как мне кажется.
SergeyZZZ, а тебе как? удобно держать?
SergeyZZZ, а тебе как? удобно держать?
- SergeyZZZ
- Сообщения: 970
- Зарегистрирован: Вт июн 12, 2007 4:36 pm
- Откуда: Даугавпилс, Латвия
- Контактная информация:
Re: Смастерил микрофон
Ну особым удобством он конечно не отличается. Конечно, разработчикам и в пьяном сне не могло присниться, что этот микрофон для гармошки будет использоваться. Но уже привыкаю. А главное, чтобы звучал.
Продается усилитель 500W, но с небольшой трещиной (от топора).
- SergeyZZZ
- Сообщения: 970
- Зарегистрирован: Вт июн 12, 2007 4:36 pm
- Откуда: Даугавпилс, Латвия
- Контактная информация:
Re: Смастерил микрофон
http://molotok.ru/listing.php/search?sg ... C%D0%B4-44MiracleFoxx писал(а):ААА! Я хотел сделать так же, но 44-ый из-под носа перекупили(((
Смотри ка сколько их тут...
Продается усилитель 500W, но с небольшой трещиной (от топора).
- MiracleFoxx
- Сообщения: 1337
- Зарегистрирован: Пн июн 15, 2009 2:57 am
- Откуда: Киев
- Контактная информация:
Re: Смастерил микрофон
Доставка с России обойдется дороже мика.
- Мой Повелитель
- Сообщения: 3817
- Зарегистрирован: Сб янв 20, 2007 10:32 pm
- Откуда: Ivanteevka city
- Контактная информация:
Re: Смастерил микрофон
SergeyZZZ
Удобная петля на СМ57, ты какие туда пальцы суешь для удержания?
MiracleFoxx
Уже не первый раз слышу, что в Украину из России слать, как с Марса. Нежто все так дорого и такие жесткие правила? Отправлял посылку в Германию, 0.5кг, вместе с упаковкой и всеми сборами вышло 250р.
Удобная петля на СМ57, ты какие туда пальцы суешь для удержания?
MiracleFoxx
Уже не первый раз слышу, что в Украину из России слать, как с Марса. Нежто все так дорого и такие жесткие правила? Отправлял посылку в Германию, 0.5кг, вместе с упаковкой и всеми сборами вышло 250р.
Май мъюзик
- SergeyZZZ
- Сообщения: 970
- Зарегистрирован: Вт июн 12, 2007 4:36 pm
- Откуда: Даугавпилс, Латвия
- Контактная информация:
Re: Смастерил микрофон
Мезинец. Да однозначно удобная, но это не я придумал, я подсмотрел у других.
Продается усилитель 500W, но с небольшой трещиной (от топора).
- Мой Повелитель
- Сообщения: 3817
- Зарегистрирован: Сб янв 20, 2007 10:32 pm
- Откуда: Ivanteevka city
- Контактная информация:
Re: Смастерил микрофон
SergeyZZZ
На первой фото шуровский транс?
На первой фото шуровский транс?
Май мъюзик
- SergeyZZZ
- Сообщения: 970
- Зарегистрирован: Вт июн 12, 2007 4:36 pm
- Откуда: Даугавпилс, Латвия
- Контактная информация:
Re: Смастерил микрофон
Нет, это китайский, без названия он.
Продается усилитель 500W, но с небольшой трещиной (от топора).
Re: Смастерил микрофон
Кстати говоря, неужели шумы от свободной головки 57-го не мешают, когда в руку берёшь? Я свой скотчем проклеил по периметру, т.к. надоело уже слушать лишние "эффекты".
Re: Смастерил микрофон
Кто не успел тот опоздал!
..."еврейские" мики кончились. Если кому очень сильно нада - могут поискать в москве, с шильдиком "астатик" оно где то было. За 5тыщ рублей с хвостиком. Вот так.
..."еврейские" мики кончились. Если кому очень сильно нада - могут поискать в москве, с шильдиком "астатик" оно где то было. За 5тыщ рублей с хвостиком. Вот так.
Это вы меня ещё с плохой стороны не видели.
Re: Смастерил микрофон
о, да. я забрал последний!George_M писал(а):Кто не успел тот опоздал!
..."еврейские" мики кончились. Если кому очень сильно нада - могут поискать в москве, с шильдиком "астатик" оно где то было. За 5тыщ рублей с хвостиком. Вот так.
Re: Смастерил микрофон
Это, кстати, был экземпляр самого Джима. Он себе оставил последний, а тут ты без объявления войны вышел из многомесячной спячки и внезапно деньги перевёл...
Вот так остался Джим без микрофона.

Вот так остался Джим без микрофона.
Это вы меня ещё с плохой стороны не видели.
Re: Смастерил микрофон
нифигасебе, мик начинает обрастать своей "легендой". Стал еще ценнее 
И, к слову, микрофон - мое почтение, радует.
И, к слову, микрофон - мое почтение, радует.
- SergeyZZZ
- Сообщения: 970
- Зарегистрирован: Вт июн 12, 2007 4:36 pm
- Откуда: Даугавпилс, Латвия
- Контактная информация:
Re: Смастерил микрофон
Это микрофон Октава МДО-1 1971г кастомный. Купил по дешевке на базаре кучу старых микрофонов... Это изначально был направленный микрофон с двумя капсюлями, включенные встречно. Но один капсюль оказался неисправным (оказалась порвана целочка). К оставшемуся капсюлю приклеил трансформатор импеданса от Мд-47 и к высокой обмотке припоял регулятор громкости (500кОм).
Продается усилитель 500W, но с небольшой трещиной (от топора).
- Мой Повелитель
- Сообщения: 3817
- Зарегистрирован: Сб янв 20, 2007 10:32 pm
- Откуда: Ivanteevka city
- Контактная информация:
Re: Смастерил микрофон
Покрамсал кетайский СМ57.
Май мъюзик
Re: Смастерил микрофон
Да, симпатишненько.
Это вы меня ещё с плохой стороны не видели.
- Мой Повелитель
- Сообщения: 3817
- Зарегистрирован: Сб янв 20, 2007 10:32 pm
- Откуда: Ivanteevka city
- Контактная информация:
Re: Смастерил микрофон
До грега мне еще далеко. Он отрезает всю нижнюю часть и заменяет выточеной деталью, что недешево пулучается. Китайский мик было не жалко попилить, достался как часть платы при обмене, недорого. Новый кетайский СМ57 можно в Москве купить за 1200р. в полной комплектации. В результате такой вот переделки длина корпуса (без учета капсюля), унешилась в 2 раза.
Держать не слишком удобно из-за маленького диаметра. Надо бы колько приделать какое-нибудь. Верхняя цилиндрическая часть это вполне позволяет.
Держать не слишком удобно из-за маленького диаметра. Надо бы колько приделать какое-нибудь. Верхняя цилиндрическая часть это вполне позволяет.
Май мъюзик
- Мой Повелитель
- Сообщения: 3817
- Зарегистрирован: Сб янв 20, 2007 10:32 pm
- Откуда: Ivanteevka city
- Контактная информация:
Re: Смастерил микрофон
Прочел тут книгу по аккустике. Там описано, что в буллете за счет граента давления, даже самые сильные звуки позади не так слышны как те что производятся перед ним, то есть конструкция шумозащищенная. И элемент там на старых моделях электромагнитный капсюль, за счет своей конструкции он тоже дает шумозащитный эффект и препятствует возникновению обратной связи. Такой элемент тут кто-то постил.
Микрофон ДЭМШ имеет такой же каплюль по конструкции и АЧХ как у буллета, в общем характеристики теже. http://vvxv.ru/elektromagnitnye-mikrofony.html . Только на нем внутренности закрыты пластиковым колпачком снаружи. По сути неплохая должно быть вещь для любителей чикаги.
микрофон электромагнитный дифференциальный малогабаритный шумостойкий
предназначен для работы в составе аппаратуры связи.
Габаритные размеры (длина×ширина×высота), мм....30×23×10,8
Масса микрофона, не более, г.................................14
Чувствительность на частоте 1кГц, мВ/Па.................0,4-1,25
Диапазон рабочих частот, Гц...................................400-1000
Импеданс на частоте 1кГц, Ом.................................200±40
Микрофон ДЭМШ имеет такой же каплюль по конструкции и АЧХ как у буллета, в общем характеристики теже. http://vvxv.ru/elektromagnitnye-mikrofony.html . Только на нем внутренности закрыты пластиковым колпачком снаружи. По сути неплохая должно быть вещь для любителей чикаги.
микрофон электромагнитный дифференциальный малогабаритный шумостойкий
предназначен для работы в составе аппаратуры связи.
Габаритные размеры (длина×ширина×высота), мм....30×23×10,8
Масса микрофона, не более, г.................................14
Чувствительность на частоте 1кГц, мВ/Па.................0,4-1,25
Диапазон рабочих частот, Гц...................................400-1000
Импеданс на частоте 1кГц, Ом.................................200±40
Май мъюзик
Re: Смастерил микрофон
ДЭМШ во всех армейских (и не только) гарнитурах для радиостанций стоял. Помню как в 90-х мы на Р-130 с киловатным прицепом над САУ (на ГУ-50 кажется), завязывали тангенту резиночкой и прислоняли к кассетному магнитофону "Весна"
рабочая дорожка сопредельной стороны слушала такую "чикагу", шо не дай Боже
))), а рядом сидел мой связист и записывал, какой код перехода, какой резервной частоте соответствует.
Вот такое легкое военное хулиганство 
- Мой Повелитель
- Сообщения: 3817
- Зарегистрирован: Сб янв 20, 2007 10:32 pm
- Откуда: Ivanteevka city
- Контактная информация:
Re: Смастерил микрофон
АЧХ ДЭМШ сильно напоминает буллет, и как и буллет делался для военных целей. Причем при узкой полосе пропускания частот и разбросу АЧХ он относится к 3 классу, то есть самому последнему по госту, это мики предназначеные для любительских целей и передачи речи.
- Вложения
-
- Achh.jpg (20.38 КБ) 43420 просмотров
Май мъюзик
Re: Смастерил микрофон
а теперь гуглим ачх буллета и сравниваем....
Это вы меня ещё с плохой стороны не видели.
- Мой Повелитель
- Сообщения: 3817
- Зарегистрирован: Сб янв 20, 2007 10:32 pm
- Откуда: Ivanteevka city
- Контактная информация:
Re: Смастерил микрофон
Сам гугли, мне лень. Как нагуглишь сделай скрин и выложи.
Май мъюзик
Re: Смастерил микрофон
Короче, думал, думал, чтобы уж буллетоподобный мик, но не тяжёлый green bullet, если Вы именно его называете буллетом. Скорее, это микрофон, который имеет подобную форму, астатик же тоже буллет, ок? Который можно капить, как техника. Получается, что заказал после долгих поисков кастом у Рона (SUKM), в такой конфигурации:
NOS 99E86 / MK Shure CM element (wired 2 pin Hot)
Date code MK= M-1973 / K= November (73 года элемент)
Rharleys Tranform Super boost Mod
Rharley Kustom Made Neoprene Gasket (решётка это как бонус)
безо всяких трансформаторов встроенных (я попросил), чтобы его можно было воткнуть с радио AKG SO40 (wired 2 pin hot), либо с трансформатором в комбик по желанию.
Классный дядька. Он взял за основу Blues Blaster, не входя в цену (250$+пересылка) ободрал уже синюю краску, покрасил по моему выбору, и уже почти готово, ох. То есть переплата небольшая, ну 100%, зато поприятнее надеюсь будет. Прямо учу уже тему специально, чтобы с блокировкой и пердеть, чтобы ему показать и стыдно не было, ну хз.
NOS 99E86 / MK Shure CM element (wired 2 pin Hot)
Date code MK= M-1973 / K= November (73 года элемент)
Rharleys Tranform Super boost Mod
Rharley Kustom Made Neoprene Gasket (решётка это как бонус)
безо всяких трансформаторов встроенных (я попросил), чтобы его можно было воткнуть с радио AKG SO40 (wired 2 pin hot), либо с трансформатором в комбик по желанию.
Классный дядька. Он взял за основу Blues Blaster, не входя в цену (250$+пересылка) ободрал уже синюю краску, покрасил по моему выбору, и уже почти готово, ох. То есть переплата небольшая, ну 100%, зато поприятнее надеюсь будет. Прямо учу уже тему специально, чтобы с блокировкой и пердеть, чтобы ему показать и стыдно не было, ну хз.
Dude
Re: Смастерил микрофон
Оригинал

или как шутит Рон, после, Sand Blaster после обдирки=)

Жду как Папа Карло Маму Карло...
Будет black cherry, http://www.modernbluesharmonica.com/boa ... 852404.htm
или как шутит Рон, после, Sand Blaster после обдирки=)
Жду как Папа Карло Маму Карло...
Будет black cherry, http://www.modernbluesharmonica.com/boa ... 852404.htm
Dude
Re: Смастерил микрофон
внимание вопрос, как разобрать коннектор на бластере, чтоб сменить распайку. там болт один, он у меня одноразовый был, обратно не идет.
Re: Смастерил микрофон
Я не знаю=( Максимум, что могу приложить фотки билда.
Мы его назвали Пиноккио билд, так как я долго рассказывал ему об русской версии истории Буратино, и он круто этой сказкой впечатлился. Похоже Рон на самом деле решил что он является Папой Карло! Вот где настоящий угар!




ну и этот 2-hot,

Я просто рассказал, что some good guys with long nose, to be first=)
Мы его назвали Пиноккио билд, так как я долго рассказывал ему об русской версии истории Буратино, и он круто этой сказкой впечатлился. Похоже Рон на самом деле решил что он является Папой Карло! Вот где настоящий угар!
ну и этот 2-hot,
Я просто рассказал, что some good guys with long nose, to be first=)
Последний раз редактировалось sarman Пт авг 26, 2011 2:22 pm, всего редактировалось 1 раз.
Dude
Re: Смастерил микрофон
Thanks for clearing that up for me ,.I was wondering who was Papa Karlo,..?? LOL
Tell ya what,.. we'll call your Mic build Pinocchio,..!!
Cept this Bad Azz Pinocchio,.don't tell no lies when it's tellin the Bluz !!
You are getting My Finest CM I Have !!
As You can see It even has it's Original Box that It came in Back in 1973,..It has never been in a Micriophone !!
Tell ya what,.. we'll call your Mic build Pinocchio,..!!
Cept this Bad Azz Pinocchio,.don't tell no lies when it's tellin the Bluz !!
You are getting My Finest CM I Have !!
As You can see It even has it's Original Box that It came in Back in 1973,..It has never been in a Micriophone !!
Dude
- Мой Повелитель
- Сообщения: 3817
- Зарегистрирован: Сб янв 20, 2007 10:32 pm
- Откуда: Ivanteevka city
- Контактная информация:
Re: Смастерил микрофон
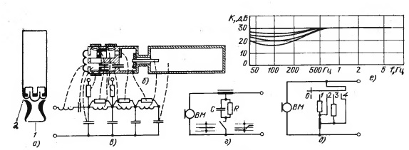
Схема устройства Сенхайсера МД-441. На картинке "а" показан рупор, который поднимает уровень высоких в районе 7кГц, на "в" устройства капсюля, конструкция которого сделана так, что меньше ловить вибрацию, и дыхание. На "г" отображено устройство выравнивая высоких частот, на "д" низких с картинкой влияния на АЧХ, это чтобы он меньше по низам заводился.
- Вложения
-
- cxema.jpg (38.52 КБ) 43269 просмотров
Май мъюзик
- Captain Cool
- Сообщения: 319
- Зарегистрирован: Сб фев 28, 2004 6:44 pm
- Откуда: Москва
- Контактная информация:
Re: Смастерил микрофон
Да Саша, это хороший выбор
А я еще попросил отрубить снизу, и переходник под джек
А я еще попросил отрубить снизу, и переходник под джек
Re: Смастерил микрофон
Капитан кул вернулся=)
А вот специально, чтобы xlr был, чтобы радио воткнуть. Я уже пробовал с переходником из джека в xlr - там тттаааааакая бульба получается, а про отрубить первый раз слышу.
Я ему говорю, типа Слава уже брал, я его типа видел, ну он такой аж захорохорился=)
А вот специально, чтобы xlr был, чтобы радио воткнуть. Я уже пробовал с переходником из джека в xlr - там тттаааааакая бульба получается, а про отрубить первый раз слышу.
Я ему говорю, типа Слава уже брал, я его типа видел, ну он такой аж захорохорился=)
Dude
Re: Смастерил микрофон
Спасибо, кстати за совет, что нужно просто слышать какая нота играет и сразу дырку понимать, казалось бы простая вещь, а с каждой новой вещью снимая понимаю вот только сейчас, что вот оно. Не надо никаких фортепиано или табов.
Dude
Re: Смастерил микрофон
Никто не находил информацию как правильно подключать трансформатор согласующий? Сразу в микрофон (например sm57), и потом уже в кабель джек-мама/папа к комбу. Или от мика xlr-xlr кабелем к трансформатору ,и затем в комб?
Re: Смастерил микрофон
правильно - возле комбика, но стОит учитывать что на транс ОЧЕНЬ СИЛЬНО влияет эм поле трансформаторов комба(и всего остального). Поэтому - где фонит меньше там и правильно.
Это вы меня ещё с плохой стороны не видели.
- SergeyZZZ
- Сообщения: 970
- Зарегистрирован: Вт июн 12, 2007 4:36 pm
- Откуда: Даугавпилс, Латвия
- Контактная информация:
Re: Смастерил микрофон
Сигнал с малой амплитудой больше боится наводки в линии чем с большой. Поэтому теортицски чем ближе трансформатор к капсюлю тем лучше, т.к. трансформатор у нас повышает. Но реально эта разница может быть не значительной.
Продается усилитель 500W, но с небольшой трещиной (от топора).
Re: Смастерил микрофон
Теоретицски конечно так, но есть тонкость: от капсюля до транса - линия балансная, после транса - нет. А транс повышая амплитуду - уменьшает ток, плюсом его КПД, который никак не 100%.
Выводы?

Выводы?
Это вы меня ещё с плохой стороны не видели.
Re: Смастерил микрофон
Транс лучше лепить в одну коробочку с капсулем ибо наводки намного опасней, а о хорошем токе на выходе микрофона говорить не приходится, а вот напряжение должно быть в норме.
транс не усиливает сигнала так как элемент не активный и кпд ниже 100, он увеличивает (согласует) напряжение но в ущерб току.
звук в мике с подобранным трансформатором усиливается не потому что его усиливает трансформатор, а потому что из за согласования уменьшаются потери.
коэффициент усиления в нашем случае - коэффициент усиления напряжения а не сигнала в общем,
транс не усиливает сигнала так как элемент не активный и кпд ниже 100, он увеличивает (согласует) напряжение но в ущерб току.
звук в мике с подобранным трансформатором усиливается не потому что его усиливает трансформатор, а потому что из за согласования уменьшаются потери.
коэффициент усиления в нашем случае - коэффициент усиления напряжения а не сигнала в общем,
Последний раз редактировалось ant734 Пн окт 31, 2011 6:40 am, всего редактировалось 1 раз.
Re: Смастерил микрофон
Кстати, запасы мд-47 в нашей местности иссякли. Ежели кому нужен хороший и недорогой транс - ищите теперь сами.
Это вы меня ещё с плохой стороны не видели.
Re: Смастерил микрофон
Сегодня как раз приехал с ebay Hosa MIT-435 согласующий трансформатор ~12$ + доставка... работает
.
Re: Смастерил микрофон
попали в руки два капсуля сименс из телефона, данной модели, кто что думает en.ooh-ya.ru/r_1273_siemens-tph-72-dyn-v36107-x1-x3-hoerkapsel.html
Re: Смастерил микрофон
Ну, я думаю что это динамики.

Это вы меня ещё с плохой стороны не видели.
Re: Смастерил микрофон
в телефоне стояла абсолютно идентичная пара данных капсулей, как в роли дина так и в роли мика. сегодня послушаю их и скажу что да как
Re: Смастерил микрофон
испытания проведены успешно,в микшерный пульт втыкал) ожидал от него меньшего, по звуку в сравнении с шур 58 бета практически не уступает, различия в харрактере звука, и чувствительности есть небольшие, а так очень даже ничего. но он тихий, гейн и громкость были на пульте на максимум а на шуре гейн чуть больше половины и громкость на 70 процентов где то. в связи с этим вопрос - как увеличить громость сигнала? читал в этой теме что нужно ставить какойто трансформатор, но так и не понял какой и где его достать кроме как выдирать из других микрофонов. и второй вопрос - каково должно быть сопротивление переменника( крутилки громкости) ?
